
(Image credit: Tatsiana Volkava / Getty Images)
A Sony patent has been found that could result in the most significant new controller technology since gaming began.
Sony is no stranger to innovation when it comes to its controllers, having dabbled with touch panels and haptics for years, but this latest find could genuinely improve all our lives.
Published by the World Intellectual Property Organization (WIPO) at the beginning of March, the patent titled simply "Operation Device" details a new DualSense controller with solar charging capabilities.
Discovered by tech4gamers, it reveals that the "operation device" (controller) contains "a plurality of photovoltaic elements" which "are arranged in a housing" plus a "power storage unit" that "stores electric power generated by the plurality of photovoltaic elements".
In short, that means solar panel technology built into the controller that change light into energy. And, while that might not be the only source of power – you'll still likely have to charge it fully at times – it could keep it topped up during play for longer gaming sessions.
As Sony explains in the filing: "Game controllers that use batteries need to be replaced or charged when the battery runs out. Therefore, if there is no battery that can be replaced, or if there is no charger, the game controller cannot be operated."
The photovoltaic (solar) cells can therefore help prevent this being needed during gameplay.
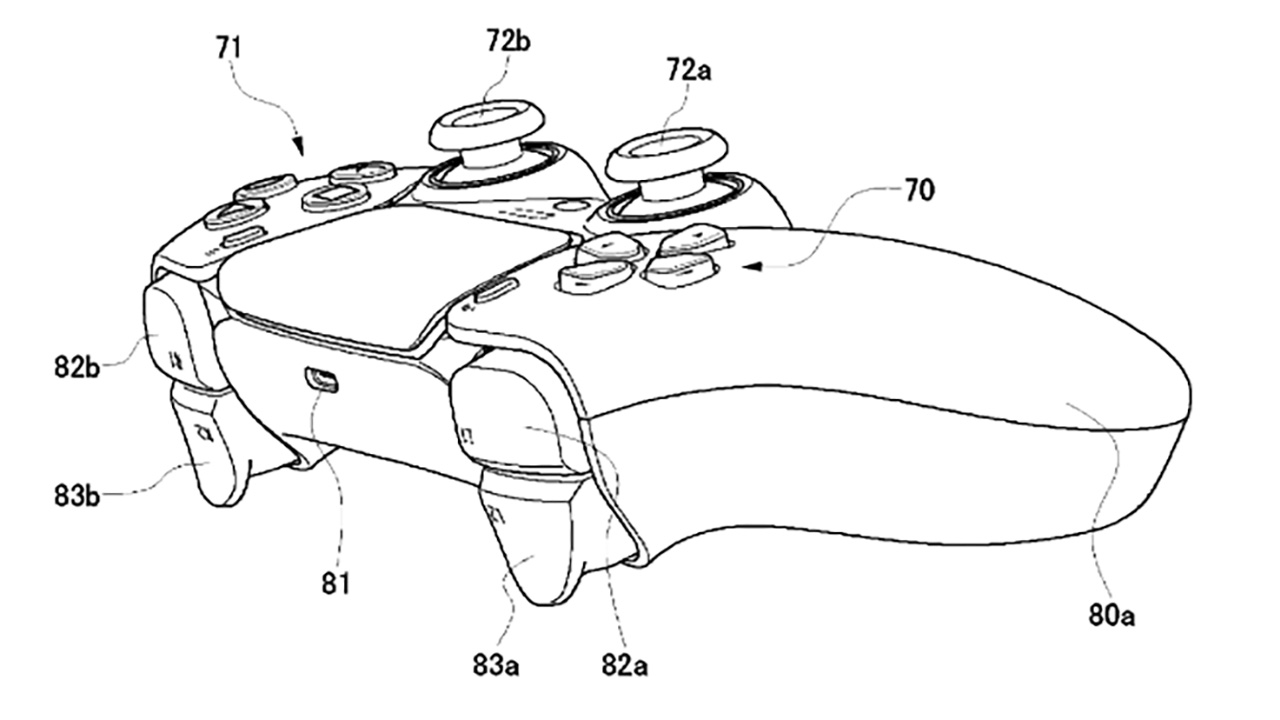
For those wondering what this has to do with a DualSense controller specifically, Sony has provided diagrams that leave little to the imagination.

(Image credit: WIPO / Sony Interactive Entertainment)

(Image credit: WIPO / Sony Interactive Entertainment)

(Image credit: WIPO / Sony Interactive Entertainment)
Of course, whether this refers to a new controller coming for this generation of PS5 and PS5 Pro consoles, or if it could be part of the company's plans for the PS6 are yet to be seen.
Also, as it's just a patent for now, it's worth remembering that firms apply for thousands of patents, many of which never see the light of day.
But if this technology works, there's no reason to think that Sony wouldn't want to employ it in a future controller – as with the bells and whistles employed by the current DualSense, it'd give it an advantage over the seemingly hundreds of rival gamepads that are flooding the market all the while.
