
Credit: Chevrolet
The battery system on an electric car can either charge—from regenerative braking or an external power supply—or discharge—powering the EV's motor(s) or supplying that power via so-called vehicle-to-load. As a rule, it can't do both at once, but General Motors has some thoughts about that. The patent analysis site CarMoses spotted a recent GM patent application for a system that is capable of charging and discharging simultaneously.
The patent describes a "charging system" with a pair of charging ports. One is for drawing power from an external source, just like every other EV. The second charge port is connected to a bi-directional charger, and the battery management system is able to charge the battery pack from the first port while also supplying power from the second port.
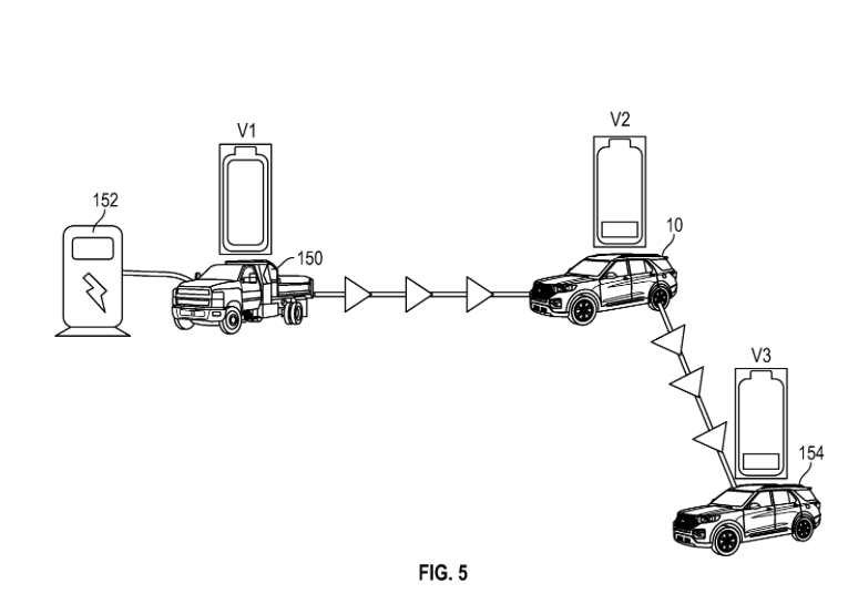
That second port could be used to charge another battery, including the battery of another EV, and the patent includes an illustration of three EVs daisy-chained to each other.

Credit: USPTO
The idea of two charge ports on an EV is not unheard of; Porsche's Taycan (and the related Audi e-tron GT) have one on each side, and it's an option on the newer PPE-based EVs from those brands, if I'm not mistaken. I have no idea whether GM's patent will show up on a production EV—car companies patent many more ideas than they ever get around to building, after all.
And I must admit, I'm not entirely sure what the use case is, beyond seeing how long of an EV-centipede you could make by plugging one into another into another, and so on. But I am intrigued.
